18472023160
预约报名
首页
考研全科一对一
考研专业课一对一
考研英语一对一
考研数学一对一
考研政治一对一
考研复试一对一
首页
>
考研资讯
>
院校资讯
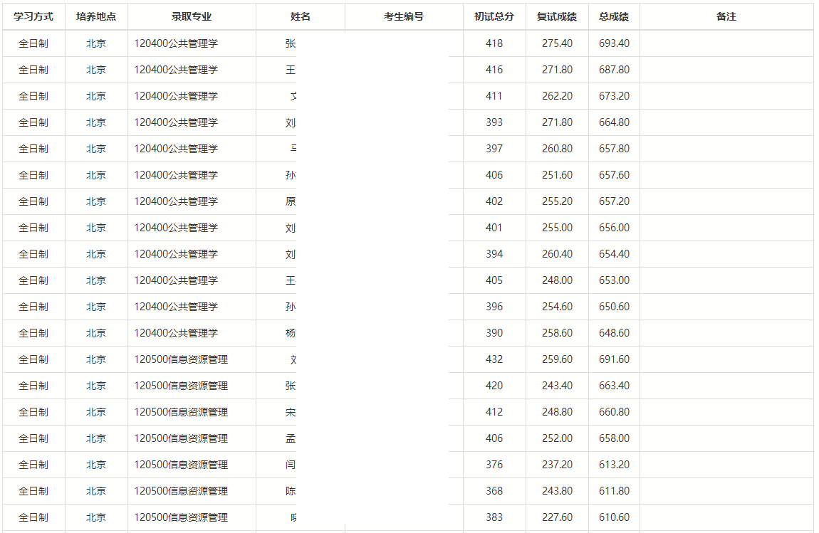
2024年北京师范大学政府管理学院学术学位硕士研究生拟录取名单
研加考研罗老师
2024-04-10 16:49:42
人看过
版权声明:倡导尊重与保护知识产权。未经许可,任何人不得复制、转载、或以其他方式使用本站《原创》内容,违者将追究其法律责任。本站文章内容,部分图片来源于网络,如有侵权,请联系我们修改或者删除处理。
相关阅读:
编辑推荐
热门文章
1
2024年北京大学法学院法学硕士研究生复试细则及复试名单
2
2025年北京大学软件与微电子学院硕士研究生拟录取名单
3
2024年北京大学法学院法律(非法学)专业学位硕士研究生复试细则及复试名单
4
2024年中国人民大学公共管理学院硕士研究生拟录取名单
5
25考研须知:2024人大哲学院大缩招,专业课全部统一,不区分方向!
6
2024年北京大学中文系硕士研究生复试细则及复试名单
7
2024年中国人民大学国际学院硕士研究生拟录取名单
8
2024年北京大学历史学系硕士研究生复试细则及复试名单
9
2024年中国人民大学智慧治理学院硕士研究生拟录取名单
10
2024年北京师范大学艺术与传媒学院硕士研究生招生复试分数线
填写信息获取考研一对一试听名额
姓名:
电话:
报考学校及专业: